产品展示

阿牛巴流量计

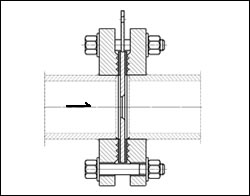
【特点】
 具有压损小,安装方便的特点。适用圆形、矩形管道的流量测量。

【规格】
  DN50~4000mm PN0.6~10MPa
【型号】
 
阿牛巴流量计
限流孔板  
【特点】
 具有限流、降压的特点。适用于限制流量或降低压力。

【规格】
 DN10~1000mm PN0.6~32MPa
【型号】  
 
限流孔板
   
单、双室平衡容器  
【特点】
 适用于液位、汽包水位的高度测量。

【规格】
 PN<32
【型号】  
 
单室平衡容器
双室平衡容器

附件及配套仪表
 

1、冷凝器
2、隔离器FG-6.4
3、集气器 FJ-6.4
4、沉降器 FC-6.4
5、风压测量装置 DFY
6、防堵取样器 PFD-A
7、差压变送器1151型

8、压变送器1151型 9、智能流量计 XSF-96 10、振动监视仪 CZJ
11、轴向位移 RDZW 12、智能转速表 SZC 13、胀差监视仪 CZQX
14、系列数显电测表 CD19 15、系列电量变送器BS 16、一次门:截止阀或球阀
17、三阀组    

地址:江阴市南闸白玉路815号                                                                                                         版权所有:江阴市塔南流量仪表有限公司